АДК22-75
Доступен для скачивания
краткий каталог продукции:
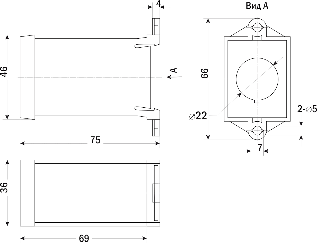
Адаптер на DIN-рейку и плоскую поверхность АДК22-75 предназначен для монтажа устройств управления с установочным диаметром 22 мм и монтажной глубиной не более 68 мм
Особенности:
- Адаптер совместим – с моноблочными переключателями ARG1-22R, ARG1-22AR, ARG1-22K;
- без отдельных модулей подсветки и фиксации и не более, чем с четырьмя контактами;
- без подсветки с модулем фиксации не более, чем с двумя контактами;
- с подсветкой без модуля фиксации не более, чем с двумя контактами;
- Адаптер НЕ СОВМЕСТИМ
– с переключателями AR-XB2-BD, AR-XB2-BDV, AR-XB2-BJ (все переключатели не более, чем с четырьмя контактами), AR-LA800E-BLSM и
-BLSL (не более, чем с двумя контактами);
– с моноблочными кнопками ARG1-22FP, ARG1-22FP-START, ARG1-22FP-STOP, ARG1-22TP, ARG1-22T1P;
– с кнопками AR-XB2-BAV, AR-XB2-BA, AR-XB4-BW, AR-XB2-BAWV, AR-XB2-BAW, AR-XB4-BW, AR-XB2-BT, AR-XB2-BS, AR-XB2-BCW, ARLA800E, AR-XB2-BA3331, AR-XB2-BA4342, AR-XB2-BC42
– с моноблочными сиренами AR-AD22-22FMD, AR-AD22-22SM
– с кнопками, у которых установлены одновременно модули подсветки и фиксации;
– с кнопками и переключателями более, чем с четырьмя контактами
Технические характеристики:
| Параметр | Значение |
| Установочный диаметр | 22 мм |
| Монтажная глубина | ≤68 мм |
| Материал | Пластик |
| Цвет | Серый |
| Габаритные размеры | 66×36×75 мм |
| Вес | 20 г |
| Габаритные размеры |
![]() |
Версия: 2025-10-08-СДГ
